服务热线
180-5003-0233

本实用新型涉及纸管制造技术领域,具体为一种纸管制造裁切装置。
背景技术:
纸管,是用纸张加工成的管状的物体,大多纸管为螺旋纸管和无缝纸管,使用新闻纸、纱管纸、白板纸、传真纸、票据纸、水松纸、铝泊纸、书写纸、彩色羊皮纸、口杯纸和利乐保鲜纸等材料制成,如使用通风机床切纸,纸管切管机高度不能超125毫米,并根据尺寸要求,用媚位压铁固紧,机床只能切纸,不能切其他板材。
传统的纸管制造裁切设备结构固定僵化,使用者在使用纸管制造裁切设备时,使用者如果需要改变切管的间距,设备的调整将十分麻烦,使用者在拆卸安装切割刀片时十分麻烦,使用者在短时间内如果需要更换不同的切管长度,操作将十分麻烦,使用者对此颇为烦恼,故而提出一种纸管制造裁切装置。
技术实现要素:
(一)解决的技术问题
针对现有技术的不足,本实用新型提供了一种纸管制造裁切装置,具备调整切管长度十分方便等优点,解决了传统的纸管制造裁切设备结构固定僵化,使用者在使用纸管制造裁切设备时,使用者如果需要改变切管的间距,设备的调整将十分麻烦,使用者在拆卸安装切割刀片时十分麻烦,使用者在短时间内如果需要更换不同的切管长度,操作将十分麻烦,使用者对此颇为烦恼的问题。
(二)技术方案
为实现上述调整切管长度十分方便的目的,本实用新型提供如下技术方案:一种纸管制造裁切装置,包括安装板,所述安装板的顶部左侧固定安装有竖杆,所述竖杆的右侧固定安装有空心杆,所述安装板的顶部固定安装有站杆,所述站杆的顶部固定安装有限位套,所述安装板的顶部右侧固定安装有垫块,所述垫块的顶部固定安装有第一电机,所述第一电机的输出轴固定安装有一端贯穿限位套并延伸到空心杆内部的转杆,所述安装板的顶部且位于竖杆和站杆之间固定安装有承接杆,所述承接杆的左侧固定安装有外杆,所述安装板的顶部且位于竖杆和承接杆之间固定安装有基块,所述基块的顶部固定安装有第二电机,所述第二电机的输出轴固定安装有一端贯穿并延伸到外杆内部的活动杆,所述活动杆的外部套接有数量为四个的切盘,所述活动杆的顶部开设有数量不少于十六个的钉孔,所述切盘的左右两侧均固定安装有横杆,所述横杆的顶部活动安装有一端贯穿并延伸到横杆底部的螺纹管,所述螺纹管的底部固定安装有空心块,所述空心块的内部活动安装有一端贯穿并延伸到空心块底部的t形块,所述t形块的底部固定安装有一端贯穿并延伸到钉孔内部的卡钉。
优选的,所述卡钉的底部采用倾斜设计,所述横杆的内部开设有与螺纹管相匹配的螺纹孔,所述螺纹管的顶部固定安装有旋转扭把。
优选的,所述限位套的直径与转杆相匹配,所述限位套的内部采用光滑设计。
优选的,所述基块为橡胶制成,所述外杆与活动杆相匹配。
优选的,所述活动杆为不锈钢制成,所述钉孔呈等距离分布在活动杆上。
优选的,所述切盘的内部开设有与活动杆相匹配的通孔,所述切盘距离转杆两毫米。
有益效果
与现有技术相比,本实用新型提供了一种纸管制造裁切装置,具备以下有益效果:
1、该纸管制造裁切装置,通过设置螺纹管上的空心块和t形块上的卡钉,使用者在需要调整切管长度时,使用者转动螺纹管,螺纹管在横杆上上移,螺纹管通过空心块拖动t形块上移,t形块带动卡钉上移,卡钉与钉孔脱离,使用者推动切盘到合适的位置停止,转动螺纹管在横杆上下移,当卡钉进入钉孔内时停止转动,切盘的位置得到调整,使用者无需繁复的操作即可完成,免去了使用者的烦恼,方便了使用者的使用。
2、该纸管制造裁切装置,通过竖杆上的空心杆和站杆上的限位套,使用者在使用设备时,启动第一电机带动转杆高速转动,转杆有被影响晃动甚至折断的风险,限位套和空心杆保护了转杆能够无阻碍旋转,且限位套限制了转杆的位移,使得设备更耐用,不易损毁。
附图说明
图1为本实用新型结构示意图;
图2为本实用新型图1中a处放大图。
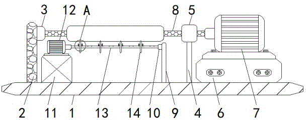
图中:1安装板、2竖杆、3空心杆、4站杆、5限位套、6垫块、7第一电机、8转杆、9承接杆、10外杆、11基块、12第二电机、13活动杆、14切盘、15钉孔、16横杆、17螺纹管、18空心块、19t形块、20卡钉。
具体实施方式
下面将结合本实用新型实施例中的附图,对本实用新型实施例中的技术方案进行清楚、完整地描述,显然,所描述的实施例仅仅是本实用新型一部分实施例,而不是全部的实施例。基于本实用新型中的实施例,本领域普通技术人员在没有做出创造性劳动前提下所获得的所有其他实施例,都属于本实用新型保护的范围。
请参阅图1-2,一种纸管制造裁切装置,包括安装板1,安装板1的顶部左侧固定安装有竖杆2,竖杆2的右侧固定安装有空心杆3,安装板1的顶部固定安装有站杆4,站杆4的顶部固定安装有限位套5,安装板1的顶部右侧固定安装有垫块6,垫块6的顶部固定安装有第一电机7,第一电机7的型号为y80m1-2,第一电机7的输出轴固定安装有一端贯穿限位套5并延伸到空心杆3内部的转杆8,限位套5的直径与转杆8相匹配,限位套5的内部采用光滑设计,方便转杆8转动,减少摩擦,安装板1的顶部且位于竖杆2和站杆4之间固定安装有承接杆9,承接杆9的左侧固定安装有外杆10,安装板1的顶部且位于竖杆2和承接杆9之间固定安装有基块11,基块11的顶部固定安装有第二电机12,第二电机12的型号为y90s-2,第二电机12的输出轴固定安装有一端贯穿并延伸到外杆10内部的活动杆13,基块11为橡胶制成,外杆10与活动杆13相匹配,橡胶制成的基块11可以缓冲第二电机12的震动,活动杆13的外部套接有数量为四个的切盘14,切盘14的内部开设有与活动杆13相匹配的通孔,切盘14距离转杆8两毫米,方便切盘14切割纸管,活动杆13的顶部开设有数量不少于十六个的钉孔15,活动杆13为不锈钢制成,钉孔15呈等距离分布在活动杆13上,不锈钢制成的活动杆13更耐用,切盘14的左右两侧均固定安装有横杆16,横杆16的顶部活动安装有一端贯穿并延伸到横杆16底部的螺纹管17,螺纹管17的底部固定安装有空心块18,空心块18的内部活动安装有一端贯穿并延伸到空心块18底部的t形块19,t形块19的底部固定安装有一端贯穿并延伸到钉孔15内部的卡钉20,卡钉20的底部采用倾斜设计,横杆16的内部开设有与螺纹管17相匹配的螺纹孔,螺纹管17的顶部固定安装有旋转扭把,方便使用者转动螺纹管17,通过设置螺纹管17上的空心块18和t形块19上的卡钉20,使用者在需要调整切管长度时,使用者转动螺纹管17,螺纹管17在横杆16上上移,螺纹管17通过空心块18拖动t形块19上移,t形块19带动卡钉20上移,卡钉20与钉孔15脱离,使用者推动切盘14到合适的位置停止,转动螺纹管17在横杆16上下移,当卡钉20进入钉孔15内时停止转动,切盘14的位置得到调整,使用者无需繁复的操作即可完成,免去了使用者的烦恼,方便了使用者的使用,通过竖杆2上的空心杆3和站杆4上的限位套5,使用者在使用设备时,启动第一电机7带动转杆8高速转动,转杆8有被影响晃动甚至折断的风险,限位套5和空心杆3保护了转杆8能够无阻碍旋转,且限位套5限制了转杆8的位移,使得设备更耐用,不易损毁。
综上所述,该纸管制造裁切装置,通过设置螺纹管17上的空心块18和t形块19上的卡钉20,使用者在需要调整切管长度时,使用者转动螺纹管17,螺纹管17在横杆16上上移,螺纹管17通过空心块18拖动t形块19上移,t形块19带动卡钉20上移,卡钉20与钉孔15脱离,使用者推动切盘14到合适的位置停止,转动螺纹管17在横杆16上下移,当卡钉20进入钉孔15内时停止转动,切盘14的位置得到调整,使用者无需繁复的操作即可完成,免去了使用者的烦恼,方便了使用者的使用,通过竖杆2上的空心杆3和站杆4上的限位套5,使用者在使用设备时,启动第一电机7带动转杆8高速转动,转杆8有被影响晃动甚至折断的风险,限位套5和空心杆3保护了转杆8能够无阻碍旋转,且限位套5限制了转杆8的位移,使得设备更耐用,不易损毁,解决了传统的纸管制造裁切设备结构固定僵化,使用者在使用纸管制造裁切设备时,使用者如果需要改变切管的间距,设备的调整将十分麻烦,使用者在拆卸安装切割刀片时十分麻烦,使用者在短时间内如果需要更换不同的切管长度,操作将十分麻烦,使用者对此颇为烦恼的问题。
需要说明的是,在本文中,诸如第一和第二等之类的关系术语仅仅用来将一个实体或者操作与另一个实体或操作区分开来,而不一定要求或者暗示这些实体或操作之间存在任何这种实际的关系或者顺序。而且,术语“包括”、“包含”或者其任何其他变体意在涵盖非排他性的包含,从而使得包括一系列要素的过程、方法、物品或者设备不仅包括那些要素,而且还包括没有明确列出的其他要素,或者是还包括为这种过程、方法、物品或者设备所固有的要素。在没有更多限制的情况下,由语句“包括一个……”限定的要素,并不排除在包括所述要素的过程、方法、物品或者设备中还存在另外的相同要素。
尽管已经示出和描述了本实用新型的实施例,对于本领域的普通技术人员而言,可以理解在不脱离本实用新型的原理和精神的情况下可以对这些实施例进行多种变化、修改、替换和变型,本实用新型的范围由所附权利要求及其等同物限定。
技术特征:
1.一种纸管制造裁切装置,包括安装板(1),其特征在于:所述安装板(1)的顶部左侧固定安装有竖杆(2),所述竖杆(2)的右侧固定安装有空心杆(3),所述安装板(1)的顶部固定安装有站杆(4),所述站杆(4)的顶部固定安装有限位套(5),所述安装板(1)的顶部右侧固定安装有垫块(6),所述垫块(6)的顶部固定安装有第一电机(7),所述第一电机(7)的输出轴固定安装有一端贯穿限位套(5)并延伸到空心杆(3)内部的转杆(8),所述安装板(1)的顶部且位于竖杆(2)和站杆(4)之间固定安装有承接杆(9),所述承接杆(9)的左侧固定安装有外杆(10),所述安装板(1)的顶部且位于竖杆(2)和承接杆(9)之间固定安装有基块(11),所述基块(11)的顶部固定安装有第二电机(12),所述第二电机(12)的输出轴固定安装有一端贯穿并延伸到外杆(10)内部的活动杆(13),所述活动杆(13)的外部套接有数量为四个的切盘(14),所述活动杆(13)的顶部开设有数量不少于十六个的钉孔(15),所述切盘(14)的左右两侧均固定安装有横杆(16),所述横杆(16)的顶部活动安装有一端贯穿并延伸到横杆(16)底部的螺纹管(17),所述螺纹管(17)的底部固定安装有空心块(18),所述空心块(18)的内部活动安装有一端贯穿并延伸到空心块(18)底部的t形块(19),所述t形块(19)的底部固定安装有一端贯穿并延伸到钉孔(15)内部的卡钉(20)。
2.根据权利要求1所述的一种纸管制造裁切装置,其特征在于:所述卡钉(20)的底部采用倾斜设计,所述横杆(16)的内部开设有与螺纹管(17)相匹配的螺纹孔,所述螺纹管(17)的顶部固定安装有旋转扭把。
3.根据权利要求1所述的一种纸管制造裁切装置,其特征在于:所述限位套(5)的直径与转杆(8)相匹配,所述限位套(5)的内部采用光滑设计。
4.根据权利要求1所述的一种纸管制造裁切装置,其特征在于:所述基块(11)为橡胶制成,所述外杆(10)与活动杆(13)相匹配。
5.根据权利要求1所述的一种纸管制造裁切装置,其特征在于:所述活动杆(13)为不锈钢制成,所述钉孔(15)呈等距离分布在活动杆(13)上。
6.根据权利要求1所述的一种纸管制造裁切装置,其特征在于:所述切盘(14)的内部开设有与活动杆(13)相匹配的通孔,所述切盘(14)距离转杆(8)两毫米。
技术总结
本实用新型涉及纸管制造技术领域,且公开了一种纸管制造裁切装置,包括安装板,所述安装板的顶部左侧固定安装有竖杆,所述竖杆的右侧固定安装有空心杆,所述安装板的顶部固定安装有站杆,所述站杆的顶部固定安装有限位套,所述安装板的顶部右侧固定安装有垫块,所述垫块的顶部固定安装有第一电机,所述第一电机的输出轴固定安装有一端贯穿限位套并延伸到空心杆内部的转杆,所述安装板的顶部且位于竖杆和站杆之间固定安装有承接杆,所述承接杆的左侧固定安装有外杆。该纸管制造裁切装置,通过设置螺纹管上的空心块和T形块上的卡钉,使用者无需繁复的操作即可调整切管的长度,免去了使用者的烦恼,方便了使用者的使用。
技术研发人员:季建华;季锴;顾光亚
受保护的技术使用者:江苏一澜智能科技有限公司
技术研发日:2018.12.09
技术公布日:2020.02.18