服务热线
180-5003-0233

本技术涉及铝箔加工的,特别是涉及一种分切机的张力控制机构。
背景技术:
1、铝箔分切机主要是用于将宽度较大的铝箔卷材按照需求进行裁切分成宽度较小的铝箔卷材。张力控制是指能够持久地控制铝箔保值绷直的运行。张力控制的稳定与否关系到分切产品的质量。若张力不足,原料在运行中产生漂移,造成分切复卷后起皱现象;若张力过大,原料又易被拉断。
2、现有技术中,公告号为cn214934689u的中国实用新型专利,其公开了一种铝箔分切机的张力调节机构,包括底板和张紧辊以及安装座,底板上固定安装有两个对称的侧板,侧板之间转动连接有两组对称的导辊……,使用时,使用时将本机构置于分切机的进料前,铝箔按穿过导辊以及张紧辊,张紧辊对铝箔施加向下的压力,张紧辊受到向上的推力,张紧辊受到的推力越大则说明铝箔绷的越紧,弹簧的压缩量越大,如果位移传感器检测到安装座距离小于设定值,系统则控制伺服电缸收缩,进而伸缩架收缩使得张紧辊被提升,缩短铝箔的运行路径,减轻绷紧程度;反之,如果铝箔过松,伺服电缸则推动伸缩架伸长,延长铝箔的路径,实现绷紧。
3、但是使用过程中发现,该装置的导辊和张紧辊在对铝箔进行张紧导向时,自身不能对铝箔的导向宽度进行调整,上述装置只能对特定宽度的铝箔进行导向,使用上具有一定的局限性,当对不同宽度的铝箔进行导向分切时,还需要对该张力调节机构进行整体更换,影响铝箔张紧分切的效率,同时工作人员需要进行人工更换,增加了工作人员的劳动强度,同时需要准备多种不同宽度的张力调节机构,造成生产成本的增加。
技术实现思路
1、为解决上述技术问题,本实用新型提供一种降低使用局限性的分切机的张力控制机构。
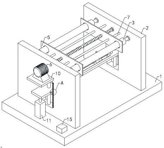
2、本实用新型的一种分切机的张力控制机构,包括底板、立板、导辊、张紧辊和升降机构,底板顶端设置有两组立板,两组导辊均转动安装在两组立板之间,升降机构安装在两组立板之间,张紧辊转动设置在升降机构上,还包括a调整机构和b调整机构,b调整机构安装在两组立板之间,用于调整两组导辊的导向宽度,b调整机构安装在升降机构上,用于调整张紧辊的导向宽度;使用时将本机构置于分切机的进料前,铝箔按图6所示的穿过导辊以及张紧辊,张紧辊对铝箔施加向下的压力,张紧辊和两组导辊配合对铝箔进行张紧,当铝箔的宽度发生变化时,工作人员调整a调整机构和b调整机构,从而使两组导辊、一组张紧辊、a调整机构和b调整机构配合下对宽度发生变化的铝箔进行导向。
3、优选的,a调整机构包括a挡板、a伺服电机、a光杠、a双向丝杠、a圆口和支撑板,两组a光杠均固定安装在两组立板之间,a双向丝杠转动安装在两组立板之间,两组a挡板分别与两组a光杠滑动连接,两组a挡板分别与a双向丝杠螺纹连接,每组a挡板上分别设置有两组a圆口,支撑板安装在一组立板的外侧端,a伺服电机安装在支撑板顶端,a伺服电机输出端连接a双向丝杠前端,每组导辊均套装在两组a圆口的内侧;当需要对两组导辊的导向宽度进行调整时,启动a伺服电机,从而使a双向丝杠在两组立板之间转动,两组a挡板分别在两组a光杠的配合下进行镜像靠近或者镜像远离,两组导辊分别在两组a挡板的配合下调整铝箔的导向宽度,降低使用局限性。
4、优选的,升降机构包括液压缸、光杆、升降板、竖板和控制器,两组立板上分别设置有开口,每组开口上分别纵向设置有一组光杆,升降板分别与两组光杆滑动安装,两组液压缸分别安装在两组底板顶端,两组立板在两组液压缸之间,两组液压缸的顶部移动端均连接升降板底端,升降板顶端设置有两组竖板,升降板上设置有方口,方口在两组竖板之间,控制器安装在底板顶端,两组液压缸均与控制器电连接,张紧辊转动安装在两组竖板之间;铝箔一次绕过两组导辊和a挡板时,当需要对铝箔进行张紧时,工作人员通过控制器对两组液压缸进行同步缩短,从而使升降板在两组光杆的配合下并且在两组竖板的配合下带动张紧辊向下移动,从而使张紧辊和两组导辊配合对铝箔进行张紧,提高灵活性。
5、优选的,b调整机构包括b伺服电机、b光杠、滑块、b挡板、b圆口和b双向丝杠,b伺服电机安装在方口前端,两组b光杠均安装在方口中,b伺服电机的输出端设置有b双向丝杠,b双向丝杠后端转动连接方口后端,两组滑块均与b双向丝杠螺纹连接,两组滑块分别与两组b光杠滑动连接,两组滑块顶端分别设置有b挡板,每组b挡板上分别设置有b圆口,两组b圆口分别套装在张紧辊的外侧;当需要对张紧辊的导向进行调整时,工作人员操作b伺服电机从而使b双向丝杠在方口中转动,两组滑块分别在两组b光杠的配合下进行镜像的远离或者靠近,从而使两组b挡板进行距离的调整,提高灵活性。
6、优选的,还包括高度标识,一组立板的外侧端设置有高度标识;当需要对升降板进行高度的调整时,通过高度标识可以指示升降板的升降高度,提高便捷性。
7、优选的,还包括指示针,升降板上设置有指示针;工作人员在指示针的指示作用下与高度标识配合准确显示升降板的升降高度,提高便捷性。
8、优选的,所述a伺服电机和b伺服电机均为自锁电机;a伺服电机和b伺服电机为自锁电机,保证a伺服电机和b伺服电机调整完毕后,两组a挡板和两组b挡板位置稳定,提高稳定性。
9、与现有技术相比本实用新型的有益效果为:
10、第一、 减少对张力控制机构的更换,提高加工效率;
11、第二、 一组张力控制机构能适应多种不同宽度的铝箔输送,减少成本投入;
12、第三、 更换不同宽度铝箔时,进入人工调整即可,避免了频繁更换张力控制机构,减轻了工人的劳动强度。
技术特征:
1.一种分切机的张力控制机构,包括底板(1)、立板(2)、导辊(3)、张紧辊(4)和升降机构,底板(1)顶端设置有两组立板(2),两组导辊(3)均转动安装在两组立板(2)之间,升降机构安装在两组立板(2)之间,张紧辊(4)转动设置在升降机构上,其特征在于,还包括a调整机构和b调整机构,b调整机构安装在两组立板(2)之间,用于调整两组导辊(3)的导向宽度,b调整机构安装在升降机构上,用于调整张紧辊(4)的导向宽度。
2.如权利要求1所述的一种分切机的张力控制机构,其特征在于,a调整机构包括a挡板(5)、a伺服电机(6)、a光杠(7)、a双向丝杠(8)、a圆口(9)和支撑板(10),两组a光杠(7)均固定安装在两组立板(2)之间,a双向丝杠(8)转动安装在两组立板(2)之间,两组a挡板(5)分别与两组a光杠(7)滑动连接,两组a挡板(5)分别与a双向丝杠(8)螺纹连接,每组a挡板(5)上分别设置有两组a圆口(9),支撑板(10)安装在一组立板(2)的外侧端,a伺服电机(6)安装在支撑板(10)顶端,a伺服电机(6)输出端连接a双向丝杠(8)前端,每组导辊(3)均套装在两组a圆口(9)的内侧。
3.如权利要求2所述的一种分切机的张力控制机构,其特征在于,升降机构包括液压缸(11)、光杆(12)、升降板(13)、竖板(14)和控制器(15),两组立板(2)上分别设置有开口,每组开口上分别纵向设置有一组光杆(12),升降板(13)分别与两组光杆(12)滑动安装,两组液压缸(11)分别安装在两组底板(1)顶端,两组立板(2)在两组液压缸(11)之间,两组液压缸(11)的顶部移动端均连接升降板(13)底端,升降板(13)顶端设置有两组竖板(14),升降板(13)上设置有方口,方口在两组竖板(14)之间,控制器(15)安装在底板(1)顶端,两组液压缸(11)均与控制器(15)电连接,张紧辊(4)转动安装在两组竖板(14)之间。
4.如权利要求3所述的一种分切机的张力控制机构,其特征在于,b调整机构包括b伺服电机(16)、b光杠(17)、滑块(18)、b挡板(19)、b圆口(20)和b双向丝杠(21),b伺服电机(16)安装在方口前端,两组b光杠(17)均安装在方口中,b伺服电机(16)的输出端设置有b双向丝杠(21),b双向丝杠(21)后端转动连接方口后端,两组滑块(18)均与b双向丝杠(21)螺纹连接,两组滑块(18)分别与两组b光杠(17)滑动连接,两组滑块(18)顶端分别设置有b挡板(19),每组b挡板(19)上分别设置有b圆口(20),两组b圆口(20)分别套装在张紧辊(4)的外侧。
5.如权利要求1所述的一种分切机的张力控制机构,其特征在于,还包括高度标识(22),一组立板(2)的外侧端设置有高度标识(22)。
6.如权利要求3所述的一种分切机的张力控制机构,其特征在于,还包括指示针(23),升降板(13)上设置有指示针(23)。
7.如权利要求4所述的一种分切机的张力控制机构,其特征在于,所述a伺服电机(6)和b伺服电机(16)均为自锁电机。
技术总结
本技术涉及铝箔加工的技术领域,特别是涉及一种分切机的张力控制机构,其两组导辊、一组张紧辊、A调整机构和B调整机构配合下对宽度发生变化的铝箔进行导向;包括底板、立板、导辊、张紧辊和升降机构,底板顶端设置有两组立板,两组导辊均转动安装在两组立板之间,升降机构安装在两组立板之间,张紧辊转动设置在升降机构上,还包括A调整机构和B调整机构,B调整机构安装在两组立板之间,用于调整两组导辊的导向宽度,B调整机构安装在升降机构上,用于调整张紧辊的导向宽度。
技术研发人员:彭冬鸣,董志伟,宋莹莹,张洋
受保护的技术使用者:邹平新三元铝材有限公司
技术研发日:20221224
技术公布日:2024/1/13