服务热线
180-5003-0233

1.本实用新型涉及纸管分切机技术领域,具体为一种定长的纸管分切机。
背景技术:
2.随着时代的发展,人们的环保意识不断增强,由于塑料管的不易降解,容易造成污染,人们开始大量使用纸管,纸管是指用纸张加工成的管状的物体,大多纸管为螺旋纸管和无缝纸管,纸管在生产时,需要使用到分切机对纸管进行分切。
3.现有的的纸管分切机中,长度调节十分不方便,并且无法做到定长进行切割,导致切割时往往存在较大的误差,从而影响纸管的质量,实用性不强。
技术实现要素:
4.(一)解决的技术问题
5.针对现有技术的不足,本实用新型提供了一种定长的纸管分切机。
6.(二)技术方案
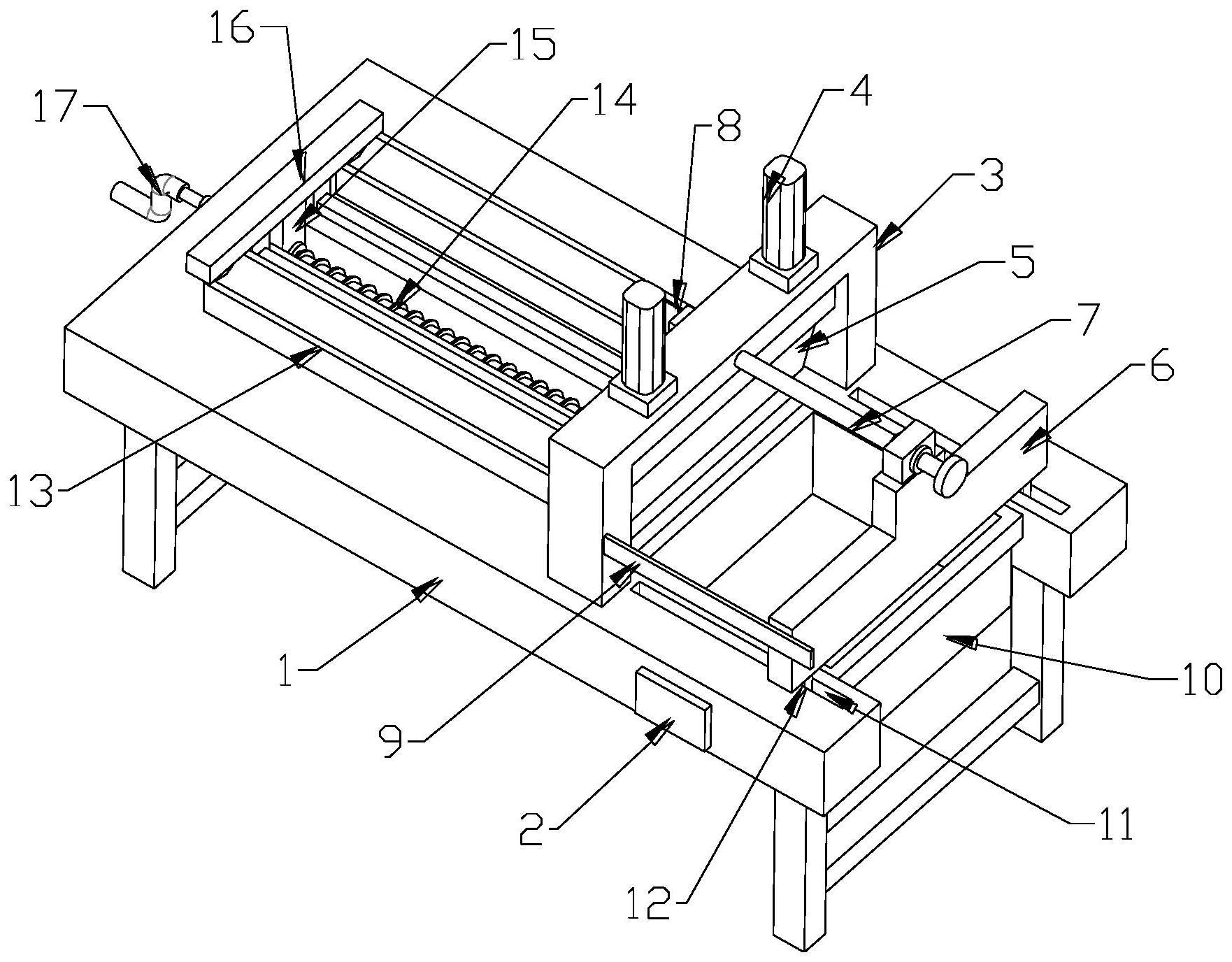
7.为实现上述目的,本实用新型提供如下技术方案:一种定长的纸管分切机,包括底座,所述底座底端两侧设置有支脚,所述底座顶端一侧设置有安装架,所述安装架顶端两侧设置有气缸,所述安装架底部设置有切刀,所述气缸一端与切刀连接,所述底座顶端右侧设置有调节板,所述调节板顶端一侧内设置有螺纹孔,所述安装架一侧设置有电机,所述电机输出端设置有螺杆,所述螺杆一端贯穿螺纹孔,所述调节板底端两侧设置有滑块,所述底座顶端两侧内设置有滑槽,所述滑块一端设置在滑槽内部,所述底座一侧设置有控制器,所述底座顶端左侧设置有放置板,所述放置板顶端内设置有弧形凹槽,所述底座顶端内设置有安装槽,所述安装槽内设置有螺纹杆,所述底座一侧设置有把手,所述把手一端与螺纹杆连接,所述螺纹杆上设置有移动块,所述移动块顶端设置有推板,所述推板位于放置板上方,所述底座右侧内设置有收集箱。
8.为了提高调节板调节的精准度,本实用新型改进有,所述安装架一侧设置有刻度板,所述刻度板位于调节板一侧。
9.为了提高设备的控制效果,本实用新型改进有,所述控制器与电机及气缸之间均通过电性连接。
10.为了提高推板运动的稳定性,本实用新型改进有,所述推板底端两侧设置有滑条,所述底座顶端两侧内设置有滑轨,所述滑条设置在滑轨上。
11.为了提高底座放置的稳固性,本实用新型改进有,所述支脚与底座焊接连接,所述支脚底端设置有防滑纹路。
12.为了提高底座的耐用性,本实用新型改进有,所述底座表面上设置有防腐蚀层,所述防腐蚀层为防腐树脂层。
13.(三)有益效果
14.与现有技术相比,本实用新型提供了一种定长的纸管分切机,具备以下
15.有益效果:
16.该定长的纸管分切机,在需要对纸管分切长度进行调整时,只需要通过控制器开启电机,电机驱动螺杆进行旋转,螺杆的旋转带动调节板,并通过刻度板的设置,能够更加精准的进行调整,调节完成后,推板将纸管在放置板上推动,使得纸管一端抵在调节板上,然后气缸下降,气缸带动切刀对纸管进行分切,分切后的纸管直接落在收集箱内部,通过调节板,使得分切后的纸管都是相同的长度,实现定长分切,保证纸管分切的质量。
附图说明
17.图1为本实用新型结构示意图;
18.图2为本实用新型图1的侧视结构示意图;
19.图3为本实用新型图2的侧视结构示意图;
20.图中:1、底座;2、控制器;3、安装架;4、气缸;5、切刀;6、调节板;7、螺杆;8、电机;9、刻度板;10、收集箱;11、滑槽;12、滑块;13、放置板;14、螺纹杆;15、移动块;16、推板;17、把手。
具体实施方式
21.下面将结合本实用新型实施例中的附图,对本实用新型实施例中的技术方案进行清楚、完整地描述,显然,所描述的实施例仅仅是本实用新型一部分实施例,而不是全部的实施例。基于本实用新型中的实施例,本领域普通技术人员在没有做出创造性劳动前提下所获得的所有其他实施例,都属于本实用新型保护的范围。
22.请参阅图1-3,一种定长的纸管分切机,包括底座1,所述底座1底端两侧设置有支脚,所述底座1顶端一侧设置有安装架3,所述安装架3顶端两侧设置有气缸4,所述安装架3底部设置有切刀5,所述气缸4一端与切刀5连接,所述底座1顶端右侧设置有调节板6,所述调节板6顶端一侧内设置有螺纹孔,所述安装架3一侧设置有电机8,所述电机8输出端设置有螺杆7,所述螺杆7一端贯穿螺纹孔,所述调节板6底端两侧设置有滑块12,所述底座1顶端两侧内设置有滑槽11,所述滑块12一端设置在滑槽11内部,所述底座1一侧设置有控制器2,所述底座1顶端左侧设置有放置板13,所述放置板13顶端内设置有弧形凹槽,所述底座1顶端内设置有安装槽,所述安装槽内设置有螺纹杆14,所述底座1一侧设置有把手17,所述把手17一端与螺纹杆14连接,所述螺纹杆14上设置有移动块15,所述移动块15顶端设置有推板16,所述推板16位于放置板13上方,所述底座1右侧内设置有收集箱10,所述安装架3一侧设置有刻度板9,所述刻度板9位于调节板6一侧,所述控制器2与电机8及气缸4之间均通过电性连接。
23.上述结构在实际的使用过程中,通过控制器2开启电机8,所述电机8驱动螺杆7进行旋转,螺杆7的旋转带动调节板6,使得调节板6在安装架3一侧进行移动,并通过刻度板9的设置,能够更加精准的调整调节板6与切刀5之间的距离,调节完成后,将纸管放置在放置板13内的弧形凹槽中,然后手动旋转把手17,把手17的旋转带动螺纹杆14进行旋转,螺纹杆14的旋转带动移动块15,所述移动块15同时带动推板16,使得推板16推动弧形凹槽中的纸管,使得纸管一端抵在调节板6上,此时,开启气缸4,气缸4下降带动切刀5,切刀5对纸管进行分切,通过调节板6的限位,使得纸管分切的长度一直,实现定长分切,保证纸管的分切质
量,分切后的纸管直接落在收集箱10内部,方便集中处理,提高实用性。
24.在使用时,推板16在移动时稳定性不佳,为解决上述问题,本实施例中,所述推板16底端两侧设置有滑条,所述底座1顶端两侧内设置有滑轨,所述滑条设置在滑轨上。
25.在使用时,底座1在放置时不够稳固,为解决上述问题,本实施例中,所述支脚与底座1焊接连接,所述支脚底端设置有防滑纹路。
26.在使用过程中,底座1容易受到腐蚀而影响使用寿命,为解决上述问题,本实施例中,所述底座1表面上设置有防腐蚀层,所述防腐蚀层为防腐树脂层。
27.尽管已经示出和描述了本实用新型的实施例,对于本领域的普通技术人员而言,可以理解在不脱离本实用新型的原理和精神的情况下可以对这些实施例进行多种变化、修改、替换和变型,本实用新型的范围由所附权利要求及其等同物限定。
技术特征:
1.一种定长的纸管分切机,其特征在于:包括底座(1),所述底座(1)底端两侧设置有支脚,所述底座(1)顶端一侧设置有安装架(3),所述安装架(3)顶端两侧设置有气缸(4),所述安装架(3)底部设置有切刀(5),所述气缸(4)一端与切刀(5)连接,所述底座(1)顶端右侧设置有调节板(6),所述调节板(6)顶端一侧内设置有螺纹孔,所述安装架(3)一侧设置有电机(8),所述电机(8)输出端设置有螺杆(7),所述螺杆(7)一端贯穿螺纹孔,所述调节板(6)底端两侧设置有滑块(12),所述底座(1)顶端两侧内设置有滑槽(11),所述滑块(12)一端设置在滑槽(11)内部,所述底座(1)一侧设置有控制器(2),所述底座(1)顶端左侧设置有放置板(13),所述放置板(13)顶端内设置有弧形凹槽,所述底座(1)顶端内设置有安装槽,所述安装槽内设置有螺纹杆(14),所述底座(1)一侧设置有把手(17),所述把手(17)一端与螺纹杆(14)连接,所述螺纹杆(14)上设置有移动块(15),所述移动块(15)顶端设置有推板(16),所述推板(16)位于放置板(13)上方,所述底座(1)右侧内设置有收集箱(10)。2.根据权利要求1所述的一种定长的纸管分切机,其特征在于:所述安装架(3)一侧设置有刻度板(9),所述刻度板(9)位于调节板(6)一侧。3.根据权利要求2所述的一种定长的纸管分切机,其特征在于:所述控制器(2)与电机(8)及气缸(4)之间均通过电性连接。4.根据权利要求3所述的一种定长的纸管分切机,其特征在于:所述推板(16)底端两侧设置有滑条,所述底座(1)顶端两侧内设置有滑轨,所述滑条设置在滑轨上。5.根据权利要求4所述的一种定长的纸管分切机,其特征在于:所述支脚与底座(1)焊接连接,所述支脚底端设置有防滑纹路。6.根据权利要求5所述的一种定长的纸管分切机,其特征在于:所述底座(1)表面上设置有防腐蚀层,所述防腐蚀层为防腐树脂层。
技术总结
本实用新型涉及纸管分切机技术领域,具体为一种定长的纸管分切机,包括底座,所述底座底端两侧设置有支脚,底座顶端一侧设置有安装架,所述安装架顶端两侧设置有气缸,安装架底部设置有切刀,所述气缸一端与切刀连接,底座顶端右侧设置有调节板,在需要对纸管分切长度进行调整时,只需要通过控制器开启电机,电机驱动螺杆进行旋转,螺杆的旋转带动调节板,并通过刻度板的设置,能够更加精准的进行调整,调节完成后,推板将纸管在放置板上推动,使得纸管一端抵在调节板上,然后气缸下降,气缸带动切刀对纸管进行分切,分切后的纸管直接落在收集箱内部,通过调节板,使得分切后的纸管都是相同的长度,实现定长分切,保证纸管分切的质量。质量。质量。
技术研发人员:徐建松 孙晓民
受保护的技术使用者:杭州建松纸管有限公司
技术研发日:2023.05.06
技术公布日:2023/10/13