服务热线
180-5003-0233
条码碳带分切机的创新设计:满足多样化需求条码碳带分切机的创新设计旨在满足多样化的市场需求,提升生产效率、精度和灵活性。...
薄膜分切机的多功能性与适应性薄膜分切机凭借其多功能性和广泛适应性,能够满足不同行业的需求,提升生产效率和产品质量。...
高精度铜箔分切机:为您的锂电池生产保驾护航广泛应用于锂电池生产、电子行业、新能源汽车、储能设备和科研机构等多个领域,满足不同铜箔材料的切割需求,提升生产效率和产品质量,为锂电池生产保驾护航。...
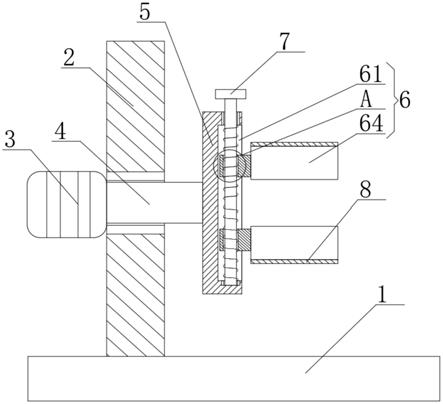
智能条码碳带分切机:精准切割,降低损耗智能条码碳带分切机凭借其高精度、智能化、高效率等优势,广泛应用于条码打印、物流、零售、医疗、制造和仓储管理等多个行业,满足不同碳带材料的切割需求,提升生产效率和......
薄膜分切机的性能优势与应用场景薄膜分切机凭借其高精度、高效率、多功能等优势,广泛应用于包装、电子、建筑、医疗、印刷、汽车和农业等多个行业,满足不同材料的加工需求,提升生产效率和产品质量。...
薄膜分切机的创新设计与技术突破薄膜分切机的创新设计与技术突破将为薄膜加工行业带来更高效、更智能、更环保的生产解决方案,推动行业持续发展。...
烫金膜分切机:为您的烫金工艺增添光彩烫金膜分切机是烫金工艺中不可或缺的设备,它能够将宽幅的烫金膜分切成所需的宽度,满足不同烫金需求,为您的产品增添奢华与精致。...
高效条码碳带分切机:提升生产效率的关键设备高效条码碳带分切机是提升条码标签印刷效率的关键设备。选择合适的设备能帮助企业提高生产效率、降低成本、增强市场竞争力。...
自动化烫金膜分切机,轻松实现批量生产一种高效、精准的设备,专为批量生产设计,能够显著提升生产效率、降低人工成本并确保产品质量。...
碳带分切机操作指南:从入门到精通碳带分切机是用于将宽幅碳带分切成所需宽度的设备,广泛应用于标签打印、条码打印等领域。...
薄膜分切机的自动化与智能化升级薄膜分切机的自动化与智能化升级是提升生产效率、降低人工成本、提高产品质量的重要途径。...
如何选择适合的薄膜分切机?选择适合的薄膜分切机需要考虑多个因素,以确保设备能够满足您的生产需求并带来最佳的投资回报。以下是一些关键因素:...
碳带分切机的自动化与智能化发展随着技术的不断进步和应用,碳带分切机将变得更加智能、高效、环保,为标签印刷行业带来更大的价值。...
创新科技,烫金膜分切机重新定义切割精度未来,随着科技的进步和应用,烫金膜分切机将会更加精密、高效、智能,为印后加工行业带来更大的价值。...
薄膜分切机的核心技术解析薄膜分切机是包装、印刷、电子、医疗等行业中不可或缺的设备,主要用于将宽幅薄膜材料分切成所需的窄幅卷材。...