服务热线
180-5003-0233

本技术涉及机械设备制造领域,具体涉及一种用于分切机上的收卷装置。
背景技术:
1、目前,很多卷状类的产品如透明胶带、生料带、运动胶带、打印机用的碳带、保险膜等产品,这些产品的原材料从厂家发出时皆为1米、2米体积的大卷,收到此大卷后需要通过分切机进行分割及重新收卷成若干个小卷,以便于后续的销售;
2、现有的分切收卷机上为了提高收卷的效率,通常设置至少2个收卷轴,而此收卷轴位于不同的位置,其中有部分收卷轴位于机架内部,收卷完毕后位于机架内部的收卷轴难以取出,且难以更换新的套筒置于收卷轴上;现有的方式一种是强行转动或翻转该机架转动,这种方式耗时费力,且容易损伤收卷驱动机构,尤其是强行翻转机架时与收卷驱动机构产生干涉,导致后续再次工作时,因保护机制而无法正常工作(即由于干涉的原因,保护机制被触发感应到驱动电流过大,便会停机);另一种则使整个分切收卷机的体积变大,增设多个换取收卷轴的工位,即对应的收卷轴位置开设取轴的位置,通过人工移转到对应位置换取已完成的小卷,此方式费时费力,更重要的是对空间占用极大,且安全性差;
3、综上,现有的收卷装置有待进一步改善与提升。
技术实现思路
1、本实用新型的目的在于克服背景技术中存在的上述缺陷或问题,提供一种用于分切机上的收卷装置,其结构简单、制作简便、易实现且成本低,解决现有分切收卷机在收卷完毕后,难以翻转出已完成的收卷轴至外部,安装更换收卷轴不便的问题。
2、为达成上述目的,本实用新型采用如下技术方案:
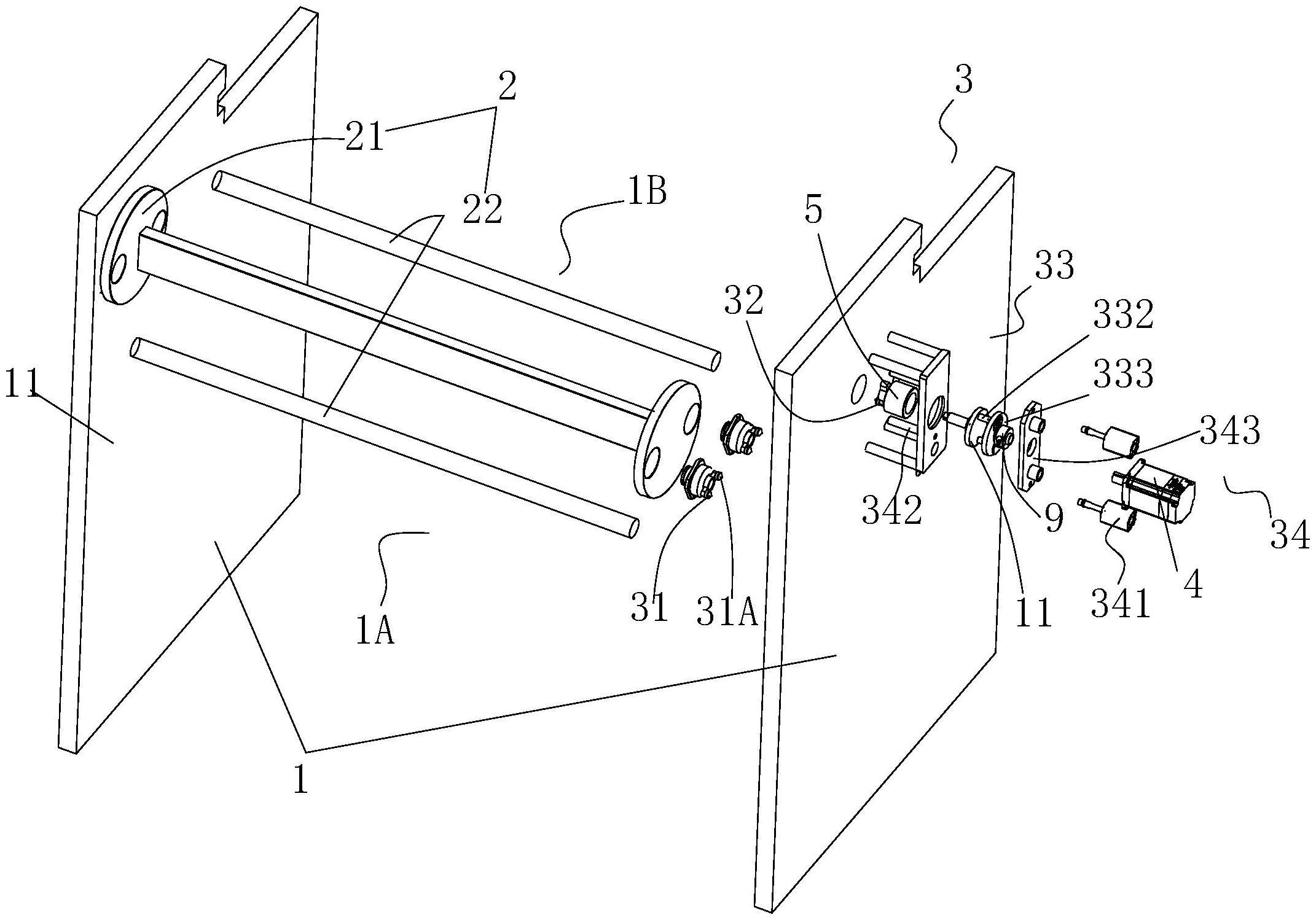
3、一种用于分切机上的收卷装置,该收卷装置包括基座、收卷架、桥接机构及电机;
4、基座,其供收卷架可转动地装设,且形成上料区域及收卷区域;
5、收卷架,其包括架体及至少两收卷轴,各所述收卷轴可转动地装设于架体,且相对于架体的轴线偏心布置;各所述收卷轴与架体可拆卸连接;
6、桥接机构,其包括被动件、施力件、装接座及驱动组件;所述被动件相对收卷轴轴线偏心设置,且面对所述装接座;该施力件装设于装接座,且相对装接座的轴线偏心设置;该驱动组件套设于装接座,且用于带动装接座沿电机输出轴的轴线方向位移,以使所述被动件与施力件相配合或远离;
7、电机,其与所述装接座止转连接。
8、进一步地,所述驱动组件包括一气缸、第一导向柱及活动板;该活动板套设于装接座外周形成的配合部,并用于带动装接座位移;所述第一导向柱平行于电机输出轴的轴线设置;该气缸固定于基座,且其上活塞杆与活动板相连,带动活动板沿第一导向柱轴向位移,以联动装接座直线位移。
9、进一步地,还包括一轴承座,其套设于装接座的外周,且与活动板连接;该轴承座与所述装接座外周形成的挡沿配合形成所述配合部;其中,所述活动板位于所述配合部,以使所述活动板通过气缸驱动位移时,带动装接座随之位移。
10、进一步地,所述装接座包括座体、第二导向柱及连接盘,所述座体与驱动组件相连,且一端部供所述施力件装设;所述连接盘与所述电机止转地装接;所述第二导向柱相对于电机输出轴的轴线偏心设置,其一端固定于座体,另一端穿入连接盘,且于所述座体受驱动组件作用时,固定在其上的第二导向柱贯穿所述连接盘。
11、进一步地,所述座体分体设置,分设成第一装接部及第二装接部;所述第一装接部上固接所述施力件;所述第一、第二装接部螺纹连接于一体,且于第二装接部外周壁与所述轴承座之间装设有轴承,以使所述第一、第二装接部相对所述活动板并转动。
12、进一步地,还包括一支撑环,其套设于电机的输出轴上,且位于基座与连接盘之间;该支撑环的外径小于连接盘的外径,且电机输出轴于该支撑环内转动,并驱使所述连接盘旋转。
13、进一步地,所述被动件和/或施力件相对设置的端部呈锥状设置。
14、进一步地,所述收卷架上设置有四根收卷轴,且等间距的分布于架体上。
15、由上述对本实用新型的描述可知,相对于现有技术,本实用新型具有的如下有益效果:
16、(1)本实用新型提供一种用于分切机上的收卷装置,其结构简单、制作简便、易实现且成本低,解决现有分切收卷机在收卷完毕后,难以翻转出已完成的收卷轴至外部,安装、更换小卷不便的问题;本新型在收卷架上设置多条收卷轴,且各收卷轴上可装设多个小卷,以提升收卷效率;此外本新型采用被动件、施力件、装接座及驱动组件组成桥接机构,通过施力件侧部推动被动件做周向转动,不仅解决电机输出轴难以与收卷轴对位传动的问题,且此推动方式更为可靠,制作成型更易实现;此外通过驱动组件带动装接座及施力件沿电机输出轴的轴向位移,在小卷收卷完毕后,将施力件退出被动件周向运动的轨迹,使得已经收卷完成的收卷轴能够轻松转动至基座的上料区域,将已装设好待收卷的卷筒转至收卷区域进行收卷,在实现已完成收卷与待收卷的各收卷轴的切换,且不耽误更换收卷轴的时间,大幅度提升生产效率,且对空间占用小,在非常便捷的区域进行更换收卷轴;
17、(2)本新型所述采用气缸作为活动板的驱动,结合导向柱的导向作用,实现驱动气缸不位移的情形下,依然能够使电机的驱动力传递至收卷轴,此结构设计巧妙,且部件少,稳定性佳;
18、(3)本新型通过轴承座与挡沿配合形成所述配合部,所述活动板通过配合部实现朝电机方向拉动或朝向收卷轴方向位移,此外,通过轴承座轻松实现配合部的成型,降低配合部的制作难度;
19、(4)本新型所述的装接座包括座体、第二导向柱及连接盘,通过此方式轻松实现装接座整体的直线位移,且不影响装接座的旋转运动,结构简单,易实现;
20、(5)本新型所述的座体分设成第一装接部、第二装接部,采用分体结构不仅简化了生产制作工艺,还能为后续结构安装简化安装难度;
21、(6)本新型还设置支撑环,不仅能够让电机输出轴能够旋转,还能减小与连接盘的摩擦,且不会使连接盘脱离出第二导向柱,并且形成一定的空间供第二导柱运动;整个结构稳定,且实用性强;
22、(7)本新型所述的被动件与施力件的端部为锥状,在所述施力件向被动件方向位移时不会因二者端面相抵而无法配合,通过锥状的端部在施力件与被动件相抵时,因锥面配合使得施力件与被动件的轴线平行,并使二者的处于同一运动轨迹,进而能够使得施力件的侧部推顶被动件的侧部,并带动被动件周向运动。
技术特征:
1.一种用于分切机上的收卷装置,其特征在于:该收卷装置包括基座、收卷架、桥接机构及电机;
2.如权利要求1所述的一种用于分切机上的收卷装置,其特征在于:所述驱动组件包括一气缸、第一导向柱及活动板;该活动板套设于装接座外周形成的配合部,并用于带动装接座位移;所述第一导向柱平行于电机输出轴的轴线设置;该气缸固定于基座,且其上活塞杆与活动板相连,带动活动板沿第一导向柱轴向位移,以联动装接座直线位移。
3.如权利要求2所述的一种用于分切机上的收卷装置,其特征在于:还包括一轴承座,其套设于装接座的外周,且与活动板连接;该轴承座与所述装接座外周形成的挡沿配合形成所述配合部;其中,所述活动板位于所述配合部,以使所述活动板通过气缸驱动位移时,带动装接座随之位移。
4.如权利要求3所述的一种用于分切机上的收卷装置,其特征在于:所述装接座包括座体、第二导向柱及连接盘,所述座体与驱动组件相连,且一端部供所述施力件装设;所述连接盘与所述电机止转地装接;所述第二导向柱相对于电机输出轴的轴线偏心设置,其一端固定于座体,另一端穿入连接盘,且于所述座体受驱动组件作用时,固定在其上的第二导向柱贯穿所述连接盘。
5.如权利要求4所述的一种用于分切机上的收卷装置,其特征在于:所述座体分体设置,分设成第一装接部及第二装接部;所述第一装接部上固接所述施力件;所述第一、第二装接部螺纹连接于一体,且于第二装接部外周壁与所述轴承座之间装设有轴承,以使所述第一、第二装接部相对所述活动板并转动。
6.如权利要求4所述的一种用于分切机上的收卷装置,其特征在于:还包括一支撑环,其套设于电机的输出轴上,且位于基座与连接盘之间;该支撑环的外径小于连接盘的外径,且电机输出轴于该支撑环内转动,并驱使所述连接盘旋转。
7.如权利要求1、2或3所述的一种用于分切机上的收卷装置,其特征在于:所述被动件和/或施力件相对设置的端部呈锥状设置。
8.如权利要求1、2或3所述的一种用于分切机上的收卷装置,其特征在于:所述收卷架上设置有四根收卷轴,且等间距的分布于架体上。
技术总结
本技术公开一种用于分切机上的收卷装置,该收卷装置包括基座供收卷架可转动地装设,且形成上料区域及收卷区域;收卷架包括架体及至少两收卷轴,各所述收卷轴可转动地装设于架体,且相对于架体的轴线偏心布置;各所述收卷轴与架体可拆卸连接;桥接机构包括被动件、施力件、装接座及驱动组件;所述被动件相对收卷轴轴线偏心设置,且面对所述装接座;该施力件装设于装接座,且相对装接座的轴线偏心设置;该驱动组件套设于装接座,且用于带动装接座沿电机输出轴的轴线方向位移,以使所述被动件与施力件相配合或远离;本新型提供的收卷装置,解决现有分切收卷机在收卷完毕后,难以翻转出已完成的收卷轴至外部,安装更换收卷轴不便的问题。
技术研发人员:吕孟强,黄锦华
受保护的技术使用者:厦门德力实自动化设备有限公司
技术研发日:20221209
技术公布日:2024/1/15